Ford Capri MKIII Versenygép

A forum látogatói álltal épített verdák...

Moderators: SONI, Pudva, Bogyo28

User avatar
White Shark
nagyonsokatirogat
Posts: 1028
Joined: Fri Feb 05, 2010 2:18 pm
ClassicFord klubtag?: Igen
Location: Székesfehérvár

Re: Ford Capri MKIII Versenygép

Post by White Shark »

Mint a süni is írta asierra hátsó tárcsa nem hűtött 250 mm átmérőjű és nem kell esztergálni ,a féltengelyből levenni azért nem egészséges mert az központosítja a fenit még ha hátsókerékrőlis van szó ,közbetét nélkül valószínüleg rázni fog.Kivéve ha a külső átmérőjéből vettetek le hogy a tárcsa ráférjen.Bogyónak köszönöm a képeket ,egyik sem olyan amire én gondoltam de mazsoláztam belőle jó dolgokat.
User avatar
White Shark
nagyonsokatirogat
Posts: 1028
Joined: Fri Feb 05, 2010 2:18 pm
ClassicFord klubtag?: Igen
Location: Székesfehérvár

Re: Ford Capri MKIII Versenygép

Post by White Shark »

még nem oldódott meg ,folyamatban van ,ezért megköszönném a rajzokat.
Natalie Driver Gabe

Re: Ford Capri MKIII Versenygép

Post by Natalie Driver Gabe »

White Shark wrote:még nem oldódott meg ,folyamatban van ,ezért megköszönném a rajzokat.
Holnap behozom a dolgozóba és felrakom ide.
De ha gondolod leméretezem a sajátomat és lerajzolom.
csak az több idő :evil:
User avatar
White Shark
nagyonsokatirogat
Posts: 1028
Joined: Fri Feb 05, 2010 2:18 pm
ClassicFord klubtag?: Igen
Location: Székesfehérvár

Re: Ford Capri MKIII Versenygép

Post by White Shark »

a tied hegesztett vagy csavarozott,ha csavarozott kívülre vagy az alaplap helyére tettétek?
Natalie Driver Gabe

Re: Ford Capri MKIII Versenygép

Post by Natalie Driver Gabe »

White Shark wrote:a tied hegesztett vagy csavarozott,ha csavarozott kívülre vagy az alaplap helyére tettétek?
A dobfék helyére lett feltéve.
Amikor beteszed és rögzíted a féltengelyt azzal fixálod a konzolt is.
tehát a csavarzott.
De hegesztett konzol s lehet könyebb lenne ottholelőállítani mint cnc-zni egy patkót.
Szerintem.
User avatar
Tibi
rengetegetirogatide
Posts: 4408
Joined: Tue May 31, 2005 10:12 am
ClassicFord klubtag?: Igen
Location: Miskolc - Bp
Contact:

Re: Ford Capri MKIII Versenygép

Post by Tibi »

Félreértések elkerülése végett, ez ?
tárcsa.jpg
tárcsa.jpg (24 KiB) Viewed 8086 times
( bárdi )
1980 Capri MK3
User avatar
Süni
OfficialGréTCSiTanárúr
Posts: 2147
Joined: Fri Sep 23, 2005 12:36 pm
ClassicFord klubtag?: Igen
Location: Vál
Contact:

Re: Ford Capri MKIII Versenygép

Post by Süni »

Ez.
User avatar
Bogyo28
Überführer
Posts: 5459
Joined: Sat Dec 04, 2004 9:11 pm
ClassicFord klubtag?: Igen
Location: Budapest-Budakalász
Contact:

Re: Ford Capri MKIII Versenygép

Post by Bogyo28 »

White Shark wrote:Mint a süni is írta asierra hátsó tárcsa nem hűtött 250 mm átmérőjű és nem kell esztergálni ,a féltengelyből levenni azért nem egészséges mert az központosítja a fenit még ha hátsókerékrőlis van szó ,közbetét nélkül valószínüleg rázni fog.Kivéve ha a külső átmérőjéből vettetek le hogy a tárcsa ráférjen.Bogyónak köszönöm a képeket ,egyik sem olyan amire én gondoltam de mazsoláztam belőle jó dolgokat.
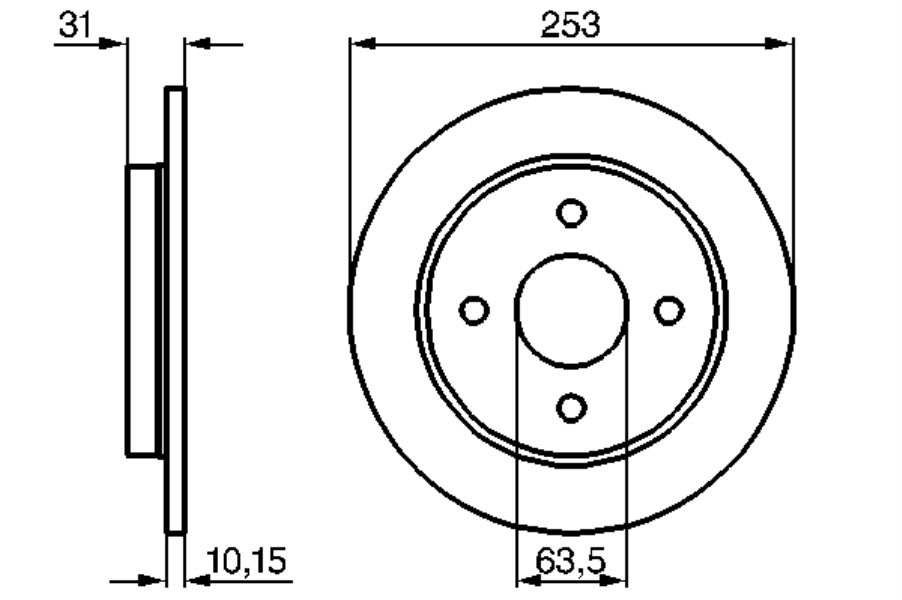
nem a tehermentesítőből lett levéve, hanem a külső részéből kb 2mm az nem oszt nem szoroz. az a kérdés hogy sima 13"-os felni alatt el fog e férni a sierra tárcsa + nyereg, mert az első 260-s is csak 7" vagy szélesebb alu alatt fér el, a lemezfelnit nem tudod rá felpattintani. neked ha jól látom szélesített lemez felni van fenn. és mivel a sierra tárcsa nem olyan mély, ezért a nyereg közelebb lesz a felnihez, érdemes méricskélni, hogy elfér e mielőtt belevégsz, mert szegény Krisz is ugy járt, hogy beleért neki a nyereg a felnibe elöl (kellett neki drága BBS kerék 8-) ), és persze akkor vette észre mikor már fenn volt. itt van pár méretezett rajz a tárcsákról:
escort_első.jpg
escort_első.jpg (23.84 KiB) Viewed 8074 times
escort_első2.jpg
escort_első2.jpg (17.06 KiB) Viewed 8074 times
sierra_hátsó.jpg
sierra_hátsó.jpg (16.71 KiB) Viewed 8074 times
sierra_hátsó2.png
az angol oldalon peugeot 405 tárcsáját ajánlják hátra 13" felni alá, de ott is azt írja hogy a féltengelyből le kell szedni:

"Peurgeot 405 249mm solid disc - 13" wheels (half shaft machining reqd)
4x4 253mm solid or vented disc - a perfect fit - 14" wheels min."

ez persze nem szentírás, da ha máshol valami bevált, kár újra felfedezni a melegvizet. peugeot tárcsáról nem találtam most hírtelen méreteket, Süninek biztos van valami infója. Mi anno azért választottuk az escort tárcsát, mert jóval olcsobb mint a sierra. De most Fefééknél az van, ha felmegy a 13" alá, akkor azt kell használni.

Tibivel holnap megmérjük a dolgokat, hogy mi hova fér el, és mi mekkora, de ha addig elkészül a szkennelés a rajzról, az azért érdekes lehet.
"...ha Detroit-nak végevan, a világnak végevan..."
"...akkor vedd meg ezt, vagy egy ilyet..."

...A Xikla...

1978 Ford Capri MKIII 2.9 V6 24V cosworth
1974 Ford Transit MKI 1.7 V4
User avatar
Süni
OfficialGréTCSiTanárúr
Posts: 2147
Joined: Fri Sep 23, 2005 12:36 pm
ClassicFord klubtag?: Igen
Location: Vál
Contact:

Re: Ford Capri MKIII Versenygép

Post by Süni »

Van Escort tárcsám is polcon.... :roll:
User avatar
Bogyo28
Überführer
Posts: 5459
Joined: Sat Dec 04, 2004 9:11 pm
ClassicFord klubtag?: Igen
Location: Budapest-Budakalász
Contact:

Re: Ford Capri MKIII Versenygép

Post by Bogyo28 »

Süni wrote:Van Escort tárcsám is polcon.... :roll:
Az nekem is van a garázsban lezsírozva...
"...ha Detroit-nak végevan, a világnak végevan..."
"...akkor vedd meg ezt, vagy egy ilyet..."

...A Xikla...

1978 Ford Capri MKIII 2.9 V6 24V cosworth
1974 Ford Transit MKI 1.7 V4
Natalie Driver Gabe

Re: Ford Capri MKIII Versenygép

Post by Natalie Driver Gabe »

Bogyo28 wrote:
Süni wrote:Van Escort tárcsám is polcon.... :roll:
Az nekem is van a garázsban lezsírozva...
Az nekem is van csak a beépítve . :mrgreen:
User avatar
Pudva
rengetegetirogatide
Posts: 2543
Joined: Mon Feb 28, 2005 4:59 pm
ClassicFord klubtag?: Igen
Location: Nyóc + a Tizenhárom
Contact:

Re: Ford Capri MKIII Versenygép

Post by Pudva »

egy is cikk: http://rallyedream.blog.hu/2011/01/24/e ... rsenyautot" onclick="window.open(this.href);return false;
'80 Ford Capri Mk III. V6 2.8
'94 Ford Escort Mk Vb 1.4 CLX
-= Az utcának az a színfoltja, kinek van egy FORD-ja =-
.: DayWalker :.
.: family rosso :.
User avatar
FEFE
alkatrészbegyűjtő
Posts: 441
Joined: Sun Sep 17, 2006 2:01 pm
ClassicFord klubtag?: Igen
Location: Székesfehérvár

Re: Ford Capri MKIII Versenygép

Post by FEFE »

Fényezés előkészítés vette kezdetét.
Versenyautó 058.jpg
Versenyautó 058.jpg (114.66 KiB) Viewed 8023 times
Versenyautó 054.jpg
Versenyautó 054.jpg (107.42 KiB) Viewed 8023 times
Versenyautó 056.jpg
Versenyautó 056.jpg (111.05 KiB) Viewed 8023 times
Versenyautó 055.jpg
Versenyautó 055.jpg (105.94 KiB) Viewed 8023 times
User avatar
daytona
egyedülisszerelhet
Posts: 798
Joined: Mon Jan 26, 2009 5:45 pm
ClassicFord klubtag?: Igen
Location: Zseliz, SK - Budapest III.ker
Contact:

Re: Ford Capri MKIII Versenygép

Post by daytona »

:ba: :ba: nagyon kiraly!!!! De eloszor nem a belsejet fujjatok?
Ford Taunus Knudsen 1975
Ford Sierra XR4i 1983
Fiat 125P 1977
Volvo V70 1998
Renault Clio 1.2 8v 2004
Honda CB500T 1976
User avatar
FEFE
alkatrészbegyűjtő
Posts: 441
Joined: Sun Sep 17, 2006 2:01 pm
ClassicFord klubtag?: Igen
Location: Székesfehérvár

Re: Ford Capri MKIII Versenygép

Post by FEFE »

daytona wrote::ba: :ba: nagyon kiraly!!!! De eloszor nem a belsejet fujjatok?
Az már rég készen van. :-D
Post Reply